WWW.LT1SWAP.COM

[ HOME ]    [ PCM PROGRAMMING ]   [ WIRE HARNESS INFO  ]    

[ Active Fuel Management DELETE ]

Visit my Facebook page for a lot of New Pictures & Harness Guides YouTube channel for How To videos  - E-Mail: brendan@lt1swap.com ph. 417-277-5836 land line 8am to 4pm typically

 

4L60E SOLEONIDS, STOP SW

4L60E SWITCHES, PC SOL, TFT

4L80E SOLENOIDS, STOP SWITCH

4L80E SWITCHES, ISS, TFT

AIR INJECTION

BACKUP LAMP SW - PICKUP

BACKUP LAMP SW - SUV

CHARGING, GMT400 8.1L

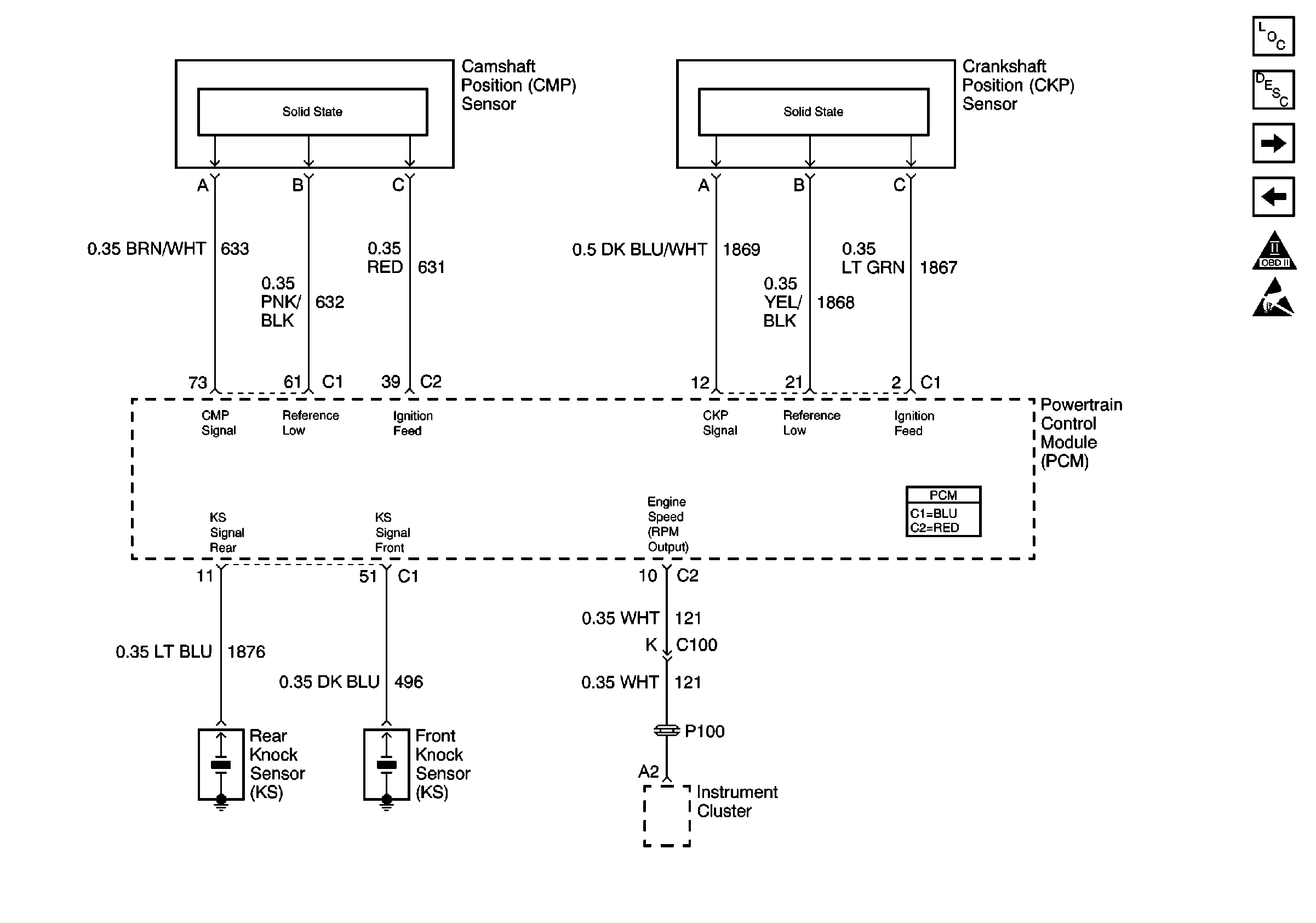
CMP, CKP, KNOCK

COILS 1357

COILS 2468

CRUISE 1 OF 2

CRUISE 2 OF 2

OBD2 PORT

EGR, EVAP

FUEL PUMP, FUEL TANK PRESSURE

GEN, OIL LEVEL SW

GEN, IPC, IGN1 FUSE

HO2S CANADA ISOLATED GROUND

HO2S FUSE A,B

HVAC, A/C SWITCHES

INJECTORS

MAP, TPS, MAF, IAC, ECT

PARK NEUTRAL SW, TOW-HAUL

PCM POWER, GROUND, MIL

STARTING, IGN SWITCH

VSS, PCM, IPC